USP Icon
Resi facili
USP Icon
I clienti valutano Zandri 9
USP Icon
Oltre 100.000 pezzi in assortimento

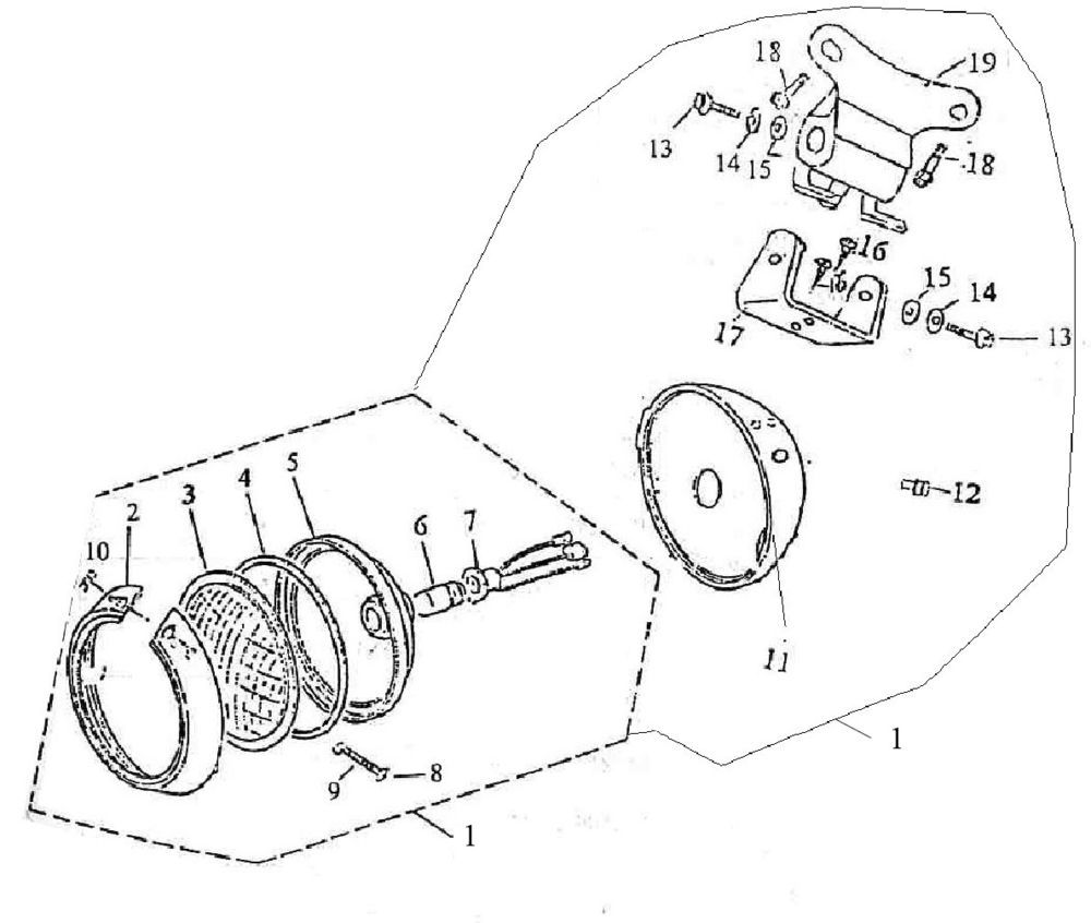
Faro anteriore rosso Viraggio Retro

Faro anteriore rosso Viraggio Retro
loader
Caricamento...

Viraggio Sensa (EURO 2; prima del 2018)