USP Icon
Resi facili
USP Icon
I clienti valutano Zandri 9
USP Icon
Oltre 100.000 pezzi in assortimento

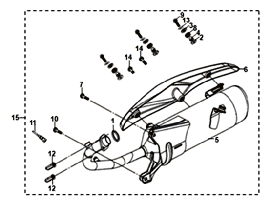
Scarico Sym Symphony ST 200I

Scarico Sym Symphony ST 200I
loader
Caricamento...

Sym Symphony ST 200I E4 Bianco (WH-006)