USP Icon
Resi facili
USP Icon
I clienti valutano Zandri 9
USP Icon
Oltre 100.000 pezzi in assortimento

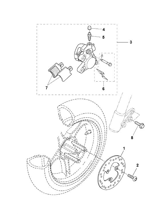
Freno anteriore Yamaha Aerox 50 2 tempi LC

Freno anteriore Yamaha Aerox 50 2 tempi LC
loader
Caricamento...

Ricambi Yamaha Aerox 2 tempi fino al 2013