USP Icon
Resi facili
USP Icon
I clienti valutano Zandri 9
USP Icon
Oltre 100.000 pezzi in assortimento

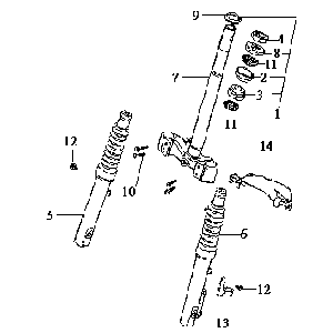
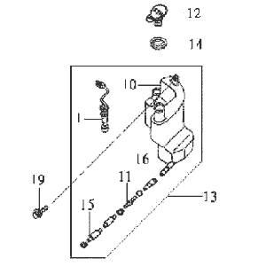
Telaio Sym DD50 blu

Telaio Sym DD50 blu
loader
Caricamento...