USP Icon
Resi facili
USP Icon
I clienti valutano Zandri 9
USP Icon
Oltre 100.000 pezzi in assortimento

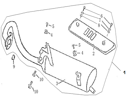
Scarico crema caffè AGM Retro ←2013

Scarico crema caffè AGM Retro ←2013
loader
Caricamento...

Ricambi AGM Retro per il 2013 caffè crema