USP Icon
Resi facili
USP Icon
I clienti valutano Zandri 9
USP Icon
Oltre 100.000 pezzi in assortimento

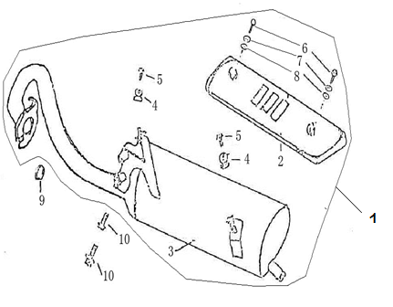
Scarico arancione Rover Exclusive

Scarico arancione Rover Exclusive
loader
Caricamento...

Ricambi Rover Exclusive arancione