USP Icon
Resi facili
USP Icon
I clienti valutano Zandri 9
USP Icon
Oltre 100.000 pezzi in assortimento

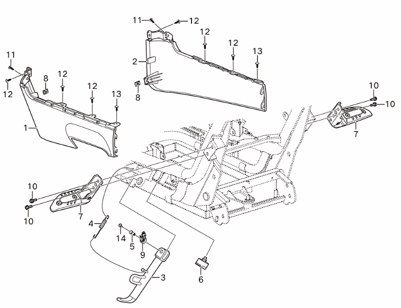
Coperchio laterale Yadea Voltguard

Coperchio laterale Yadea Voltguard
loader
Caricamento...