USP Icon
Resi facili
USP Icon
I clienti valutano Zandri 9
USP Icon
Oltre 100.000 pezzi in assortimento

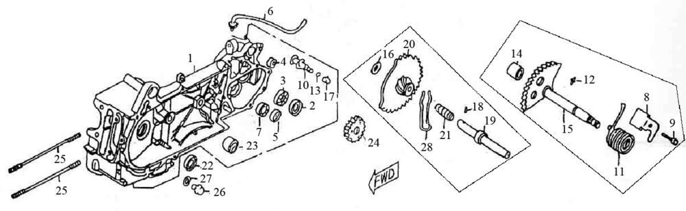
Carter - Asse Kickstarter Killerbee Custom 125

Carter - Asse Kickstarter Killerbee Custom 125
loader
Caricamento...

Killerbee Torino 125cc