USP Icon
Resi facili
USP Icon
I clienti valutano Zandri 9
USP Icon
Oltre 100.000 pezzi in assortimento

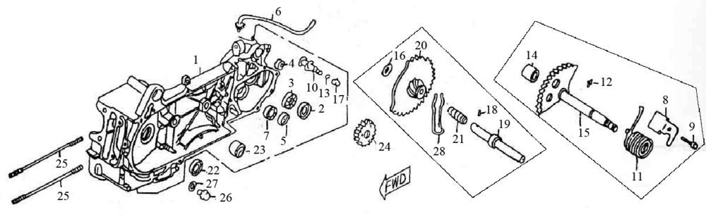
Carter - Kickstarter China Retro 125

Carter - Kickstarter China Retro 125
loader
Caricamento...

China Retro 125cc