USP Icon
Resi facili
USP Icon
I clienti valutano Zandri 9
USP Icon
Oltre 100.000 pezzi in assortimento

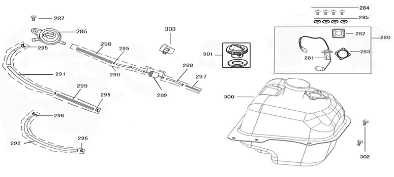
Serbatoio gas - Galleggiante serbatoio - Valvola sottovuoto Neco Lola verde crema

Serbatoio gas - Galleggiante serbatoio - Valvola sottovuoto Neco Lola verde crema
loader
Caricamento...

Onderdelen Neco Lola creme groen