USP Icon
Resi facili
USP Icon
I clienti valutano Zandri 9
USP Icon
Oltre 100.000 pezzi in assortimento

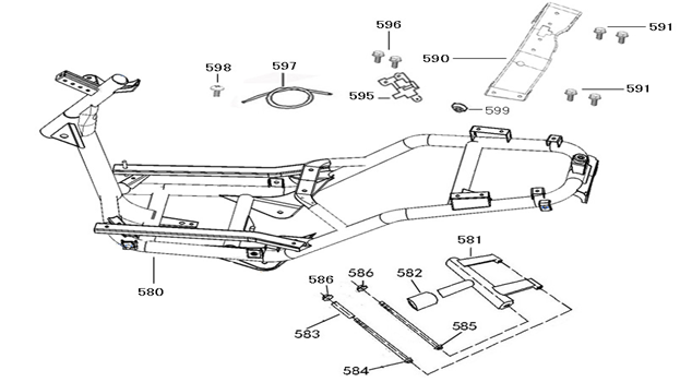
Parti del telaio Neco Lola rosso bianco

Parti del telaio Neco Lola rosso bianco
loader
Caricamento...

Onderdelen Neco Lola rood wit