USP Icon
Resi facili
USP Icon
I clienti valutano Zandri 9
USP Icon
Oltre 100.000 pezzi in assortimento

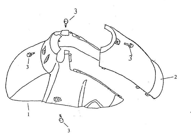
Parafango anteriore Lintex Retro HT50QT-29 blu bianco

Parafango anteriore Lintex Retro HT50QT-29 blu bianco
loader
Caricamento...

Ricambi Lintex Retro HT50QT-29 blu/bianco