USP Icon
Resi facili
USP Icon
I clienti valutano Zandri 9
USP Icon
Oltre 100.000 pezzi in assortimento

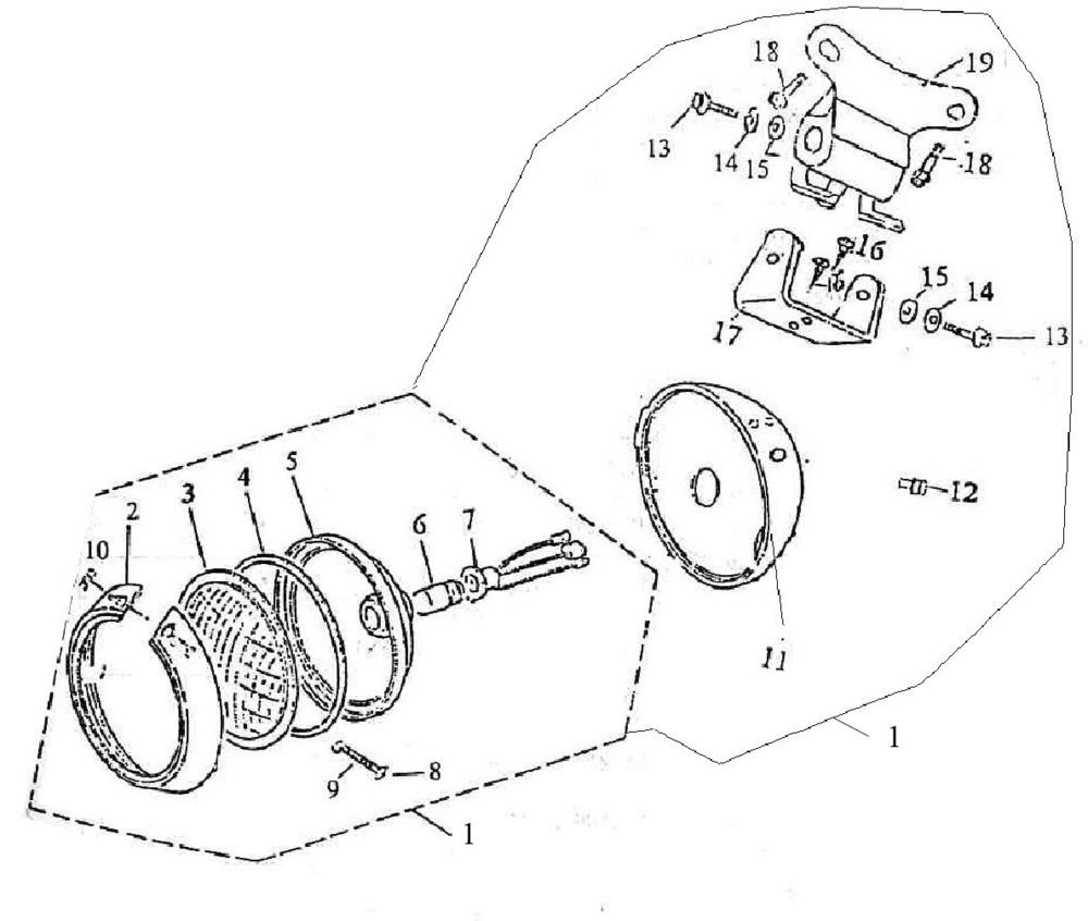
Faro Turbho RG50 nero

Faro Turbho RG50 nero
loader
Caricamento...

Ricambi Turbho RG50 nero