USP Icon
Resi facili
USP Icon
I clienti valutano Zandri 9
USP Icon
Oltre 100.000 pezzi in assortimento

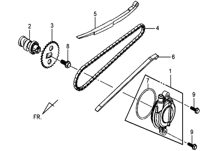
Albero a camme - Catena di distribuzione - Guide catena Sym Mio

Albero a camme - Catena di distribuzione - Guide catena Sym Mio
loader
Caricamento...

Sym Mio