USP Icon
Resi facili
USP Icon
I clienti valutano Zandri 9
USP Icon
Oltre 100.000 pezzi in assortimento

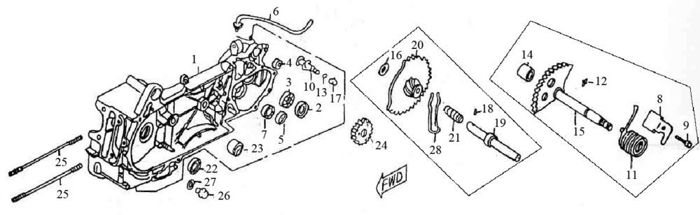
Carter - Kickstarter Vom Bella 125

Carter - Kickstarter Vom Bella 125
loader
Caricamento...